济南市医疗器械行业协会
Jinan Medical Instrument Trade Association
首页
协会概况
协会简介
协会章程
会员名录
协会相关
信息公开
下载专区
行业信息
行业动态
展会信息
通知公告
政策导读
党建专栏
党组成员
通知公告
供需平台
我是供方
我是需方
需求社区
联系我们
行业信息
行业动态
展会信息
行业动态
当前位置:
首页
>【国家药监】国家药品监督管理局医疗器械技术审评中心审评工作人员公示
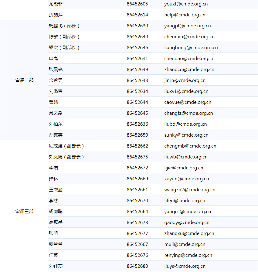
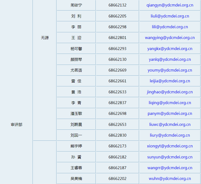
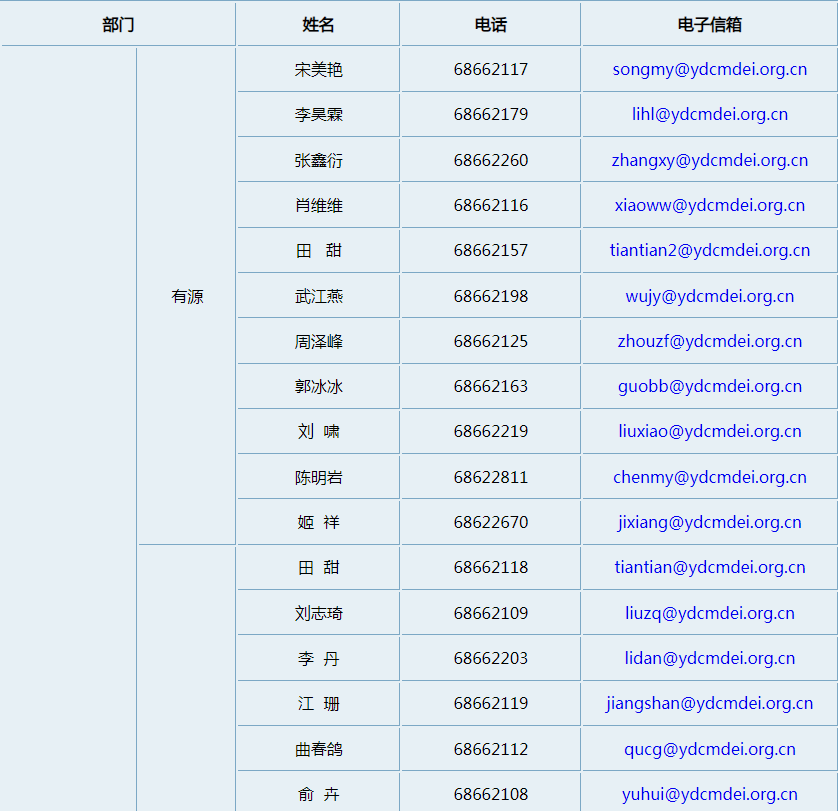
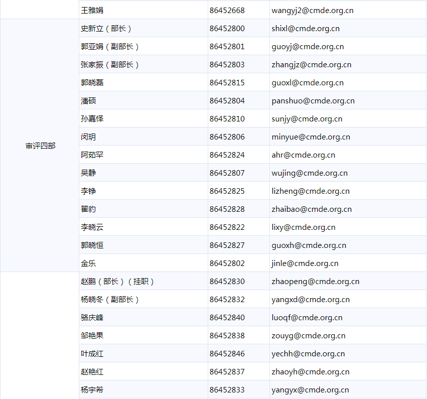
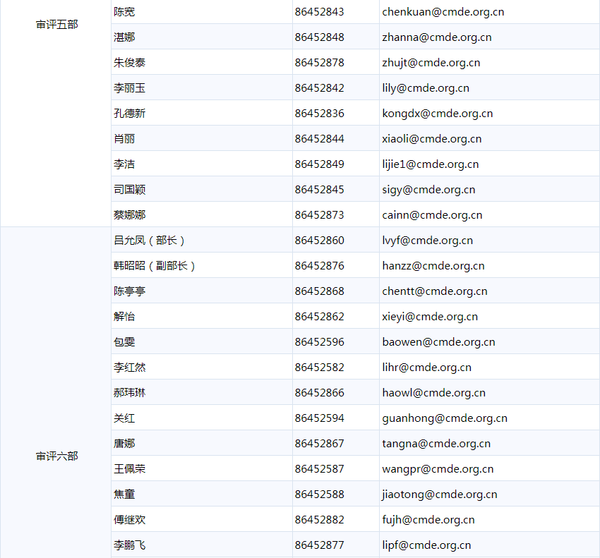
【国家药监】国家药品监督管理局医疗器械技术审评中心审评工作人员公示
发布时间:2025/1/21 15:14:12
【国家药监】国家药品监督管理局医疗器械技术审评中心审评工作人员公示
长三角分中心
大湾区分中心
转自:
国家药品监督管理局
文章来源:
上一篇
【国家药监】国家药监局综合司公开征求《医疗器械生产质量管理规范(修订草案征求意见稿)》意见
下一篇
【国家药监】关于征求《医学实验室和体外诊断系统 实体肿瘤类器官药物敏感性检测通用技术要求》等23项医疗器械国家标准立项申请意见的通知